频繁换帅、出售资产,迎来白衣骑士的王健林能否重启万达上市路?
近日,王健林名下大连万达商业管理集团公告称,张霖因个人原因辞去总裁职务,现任董事长张春远为新任总裁。这是自丁本锡退休以来,万达商管五年里离开的第三位老臣。
人事重大变动的同时,王健林继续频繁出售旗下万达广场也使得市场对其资金链是否承压持有疑问。澎湃新闻记者了解到,珠海万达商管上市之路并未停止,但整体规模可能缩小。
对于老臣们的相继离开、万达频繁出售资产和珠海万达商管的上市进展的情况,截至发稿,澎湃新闻并未得到万达集团官方的回应。
而在这一系列变动之下,究竟是王健林的铁腕战略调整还是危机信号?
频繁换帅:五年内三位老臣离开
张霖是自丁本锡退休以来,万达商管五年里离开的第三位老臣。
出生于1972年的张霖,2000年加入万达集团,曾担任万达文化集团总裁、万达集团副总裁、万达集团财务总监等职务。万达商管强调,这一次的人员变动不会对公司的日常管理、生产经营及偿债能力产生不利影响。
此次张霖的辞职有迹可循。在卸任万达商管总裁职务之前,今年1月张霖辞去了万达酒店发展(00169.HK)的非执行董事职务。
知情人士对澎湃新闻表示,张霖早在2024年就已递交了辞职报告,年前也已办好了相关手续,这次公告是按照证监会要求的常规披露。对于此次张霖的卸任,万达内部人士并不惊讶。“去年开始就陆续调整了,陆续把万达电影董事长、万达文旅集团总裁、万达投资集团董事长一系列的职务都卸了,张霖现在只剩下了万达集团董事”。
另外有知情人士表示,张霖的离任一方面跟个人规划有关,另一方面也是因为万达在经过业务架构调整之后,张霖原先负责的业务板块都已不再由他负责,比如万达的境外业务、电影文化业务等等,所以他也就选择离开了。
从丁本锡、齐界,肖广瑞、张霖,到张春远,万达商管董事长和总裁的职位均由王健林身边的老臣担任。
最初,万达商业的董事长一直由王健林兼任。直到2012年,丁本锡担任万达商业董事长。丁本锡生于1955年,2001年加盟万达,历任万达商业管理开发有限公司总经理、万达集团高级副总裁等职,曾被称为王健林最倚重的人。从2009年起,丁本锡就担任万达集团总裁,是万达集团内仅次于王健林的二号人物。
一位曾在万达工作过的前员工称,丁本锡对业务很熟练,性格严厉,做事雷厉风行,执行力强。在丁本锡管理万达商业期间,万达商业经历了赴港上市、私有化、回A股排队上市,和融创及富力的那笔600多亿元的世纪交易等多次重大事件。
2019年,丁本锡卸任万达商管董事长,总裁齐界接任。2020年,65岁的丁本锡职业生涯见顶,到了退休的年纪,遂以万达集团总裁的身份退休,接任者也是齐界。
作为元老级人物,肖广瑞与齐界、张霖三人形成了“铁三角”,轮流担任了万达商管的高管职位。
纵观三人在万达商管的从业经历,任职期间,三人都经历了万达商管的重大事件。
2021年珠海万达商管成立之时,肖广瑞就接替齐界担任万达商管总裁,协助齐界处理商业地产相关业务。5个月后,肖广瑞辞任万达商管总裁职务,齐界短暂接手,并于次年2022年5月由张霖替换。2023年3月,齐界宣布因个人原因辞去万达商管和珠海万达商管董事长职务,由肖广瑞接任。在这之后肖广瑞成了大连万达商管以及珠海万达商管的主要管理人。
齐界履历丰富,早年从事过财务、审计等工作,后曾在万达商管、万达酒店、万达地产等核心业务部门任职。2000年加入万达集团后,曾担任万达商管集团执行总裁、副总裁及南方项目管理中心总经理、总裁助理及成本控制部总经理等多个职务。
多名万达员工称,齐界有着更强的领导力和执行力,和王健林的做事风格相似,都是雷厉风行,说干就干。
齐界在职期间的主要工作内容是推动珠海万达商管在香港的上市,和首次万达商业赴港上市不同的是,此次资产包规模缩水不少,而且上市过程也并不顺利。直至对赌协议即将到期之日,珠海万达商管也未能如约上市。
2023年3月,齐界辞去了万达商管董事长职务,当时57岁的齐界辞职并非离开万达,他依旧为万达集团的总裁和董事,是仅次于王健林的“二号人物”。
在齐界辞任之后,王健林的另一名老将肖广瑞接过了万达商管的重任。
肖广瑞也是2001年就加入万达的老臣,历任万达集团人力资源部总经理、总裁助理、副总裁,并非业务线主管。
但肖广瑞待的时间不久, 2024年10月,万达商管公告称,董事长及法定代表人肖广瑞因工作安排原因辞去董事长一职,万达文旅集团执行总裁张春远接任。
辞职之后的肖广瑞消失在了公众眼中,直到今年1月8日,在珠海万达商管2024年的年会上,肖广瑞以新达盟CEO兼珠海万达商管CEO的身份进行了发言。
从张霖在万达的经历来看,他是万达集团几乎所有关键环节的核心人物。
2000年3月张霖加入万达集团,当时万达的商业项目才起步。2007年,张霖的名字出现在了万达集团的官网上,当时的职务是项目总经理。2009年,张霖当时已升任万达集团总裁助理、财务部总经理。
2012年,张霖成为了万达电影的董事长,并在担任董事长期间,2015年带领万达电影完成了在A股的IPO,并在2017年完成重大资产重组。
2020年12月3日,万达电影公告称,董事长张霖因集团工作变动不再担任公司董事长、董事及战略委员会主任委员职务。同年,张霖接棒吕正韬,成为万达地产集团董事,随后成为法人。2022年,因万达电影遭遇危机,张霖再次重掌万达电影董事长和法人的职务。2022年5月,张霖开始担任万达商管总裁。
这一次的接班人张春远是万达集团人力资源出身。内部人员表示,如今万达的业务,主要管理人员几乎都来自人力条线,而且相较于其他企业,万达人力资源部的地位相对较高。
张春远2008年加入万达集团,2008年9月至2016年9月,先后担任公司人力资源部副总经理、总裁助理兼总经理、高级总裁助理、副总裁。2016年6月至2017年2月,担任万达文化集团副总裁兼旅游控股公司总裁。2017年2月至2019年9月,担任万达集团副总裁兼人力资源管理中心总经理、公司副总裁兼人力资源中心总经理。2019年9月至2024年3月,担任万达宝贝王集团总裁。2024年3月至今,担任万达文旅集团执行总裁。
现在的张春远集万达商管董事长与总裁之位于一身,同时还担任万达文旅集团执行总裁,担任大连万达集团股份有限公司董事、大连新达盟商业管理有限公司董事、珠海万达商业管理集团有限公司董事、万达酒店发展有限公司非执行董事。
出售万达广场:股权换资金
2月17日,天眼查披露的法律诉讼信息显示,王健林新增两条股权冻结信息,涉及大连万达集团股份有限公司和大连万达商业管理集团股份有限公司,冻结股权数额分别为240万元和960万元,期限为2年,由大连市西岗区人民法院执行。此次股权冻结与(2025)辽0203财保10号案件有关。申请人某公司于2月6日向上海国际经济贸易仲裁委员会申请财产保全,请求冻结被申请人银行存款近19.5亿元或等值财产,法院裁定执行。
再早些时候,2月11日,由王健林、王思聪共同持股的大连合兴投资有限公司,新增一则股权冻结信息,被执行人为王健林,冻结股权数额7702.8万元,股权被执行的企业为该公司,冻结期限自2025年2月11日至2027年2月10日,执行法院为大连市西岗区人民法院。案件流程显示,此前该案曾发布保全裁定书,裁定冻结王健林等银行存款约19.5亿元,或查封、扣押其他等值财产。
与此同时,王健林的“卖卖卖”模式还在继续。自从珠海万达商管上市遇阻之后,王健林就开始频繁出售旗下万达广场。
2025年开年以来,王健林连续卖掉了5座万达广场。
“卖资产的原因很简单,其实就是融资找钱,找险资就是因为现在险资的资金充足,而且虽然从股权上来看股东换了,但是有些还是委托给万达商管负责管理运营的。现在银行贷款还是有难度,融资渠道对于万达来说还是比较窄,那只能通过卖资产,股权质押等操作来获取资金。”该名知情人士对澎湃新闻表示,万达现在卖的都是一些非核心的资产,现金流稳定的项目还是拿在手里的。
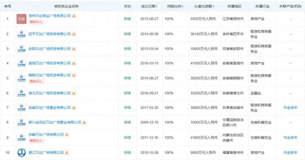
可查询的资料显示,由新华人寿保险股份有限公司和中金资本运营有限公司持有的坤华(天津)股权投资合伙企业(有限合伙)连续收购了万达在宣城、铜陵、安阳、四平和扬州的5座万达广场。
事实上,从2024年以来,新华保险就连续抄底买入万达广场,目前已购入14座万达广场项目。坤华(天津)股权投资合伙企业(有限合伙)由新华人寿保险股份有限公司和中金资本运营有限公司持有,持股比例分别为99.9%和0.1%。


在万达广场连续出售的背后,是万达商管依然严峻的财务情况。
据《大连万达商业管理集团股份有限公司公司债券中期报告(2024年)》,截至2024年上半年末,大连万达商管合并口径的有息负债高达1375.61亿元,其中一年内到期的有息负债为302.69亿元。
除了出售资产,王健林还选择进行股权质押以筹集资金。
早些时候,王健林质押了万达集团的全部股权。
1月6日,据天眼查披露的信息显示,王健林新增了一条股权出质信息,出质股权标的为大连万达集团股份有限公司,质权人为珠海万赢企业管理有限公司。出质股权数额为240万股,涵盖了万达集团的全部股权。
此外,万达集团在1月份还新增一条股权冻结信息,被冻结股权的企业为珠海横琴稳驰企业管理合伙企业(有限合伙),冻结股权数额高达8.1亿余元。冻结期限自2025年1月27日至2028年1月26日,执行法院为北京市海淀区人民法院。
迎来白衣骑士:仍将继续推进上市
珠海万达商管赴港的上市之路并不顺利。2023年底,珠海万达商管四次冲击IPO失败,而上市失败带来的麻烦是无法忽视的。如果对赌失败一旦触发回购,会给万达本就紧张的现金流带来更大压力。此时,王健林为珠海万达商管找来了白衣骑士。
2023年12月12日,太盟投资集团(PAG)与大连万达商管集团共同宣布签署新投资协议。太盟将联合其他投资者,在其2021年的投资赎回期满时,经大连万达商管集团赎回后,对珠海万达商管再投资。现有投资人于2021年8月对珠海万达商管的投资额约为380亿元人民币,其中太盟的投资额约为28亿美元(约180亿元人民币),现有投资人在原投资安排中享有到期赎回权。按照新协议,大连万达商管持股40%,为单一最大股东,太盟等数家现有及新进投资人股东参与投资,总计持股60%。
新协议不再设置对赌协议,但不容忽视的是这也让王健林失去了对珠海万达的绝对控制权。
2024年3月30日,大连万达商管集团宣布,与太盟投资集团、阿布扎比投资局、穆巴达拉投资公司、中信资本、ARES在大连正式签署投资协议,上述5家机构将联合向大连新达盟商业管理有限公司投资约600亿元,合计持股60%,大连万达商管持股40%。
大连新达盟是2024年1月12日新成立的公司,成立时注册资本约162.07亿元,法定代表人为肖广瑞,由大连万达商管及旗下大连万裕企业管理有限公司分别持股99.9938%和0.0062%。该公司的子公司为珠海万达商管,珠海万达商管是万达集团的轻资产平台,目前管理496个大型商业广场。从具体的变动来看,大连新达盟的注册资本从原先的162.1亿元增至405.2亿元,投资总额达到513亿元;新增10位投资人。同时,公司市场主体类型也转变为“有限责任公司(外商投资、非独资)”。
据澎湃新闻记者了解,新达盟和珠海万达商管目前虽然都在珠海横琴新区的同一栋楼里办公,但界限划得很清晰,而且内部默认珠海万达商管要比新达盟低一级。有知情人士表示,“太盟进来之后并不负责具体业务的管理,经营管理的团队还是万达的团队,太盟主要负责是在进行大的决策方向上给予投票决定权。”
在这新增的10个出资机构中,除了之前已经披露的太盟投资集团、中信资本等之外,苏州纽达企业管理咨询合伙企业(有限合伙)首次出现在出资机构名单中,这家公司由苏州纽尔利新策创业投资合伙企业(有限合伙)、海南纽尔利企业管理有限公司分别持股99%、1%,资方为包括苏州国家高新技术产业开发区管理委员会、苏州财政局在内的苏州国资。
有内部人员对澎湃新闻表示,“外界认为引入了新战投之后好像万达就安全了一样,其实内部的压力还是很大的,战投给的这笔钱怎么用,如何用都有严格的规定。而且战投的钱并不是一笔直接打到账上的,也是分期支付。”
有知情人士称,珠海万达商管还是要继续推进上市计划,只不过目前还未有实质进展。而且新的战投引入之后,珠海万达商管的上市显得没有之前那么迫切。但上市的资产规模应该会有所缩小,现在卖掉的万达广场绝大多数都是亏损的,这部分资产要卖掉才能不拖累整体的财务情况。
不过,即使珠海万达商管在主动缩减商业版图,但其仍是全国商业地产存量规模最大的商管公司。截至2024年年底,珠海万达商管已经累积管理商业面积超7000万平方米,为各类轻资产合作方运营管理513个已开业的万达广场。
澎湃新闻首席记者 李晓青
(本文来自澎湃新闻,更多原创资讯请下载“澎湃新闻”APP)